行业动态

了解最新公司动态及行业资讯

强制通风-螺旋搅拌土壤热解吸设备修复

2017-12-08 02:50:20 201 编辑:admin 来源:本站
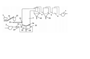
一种强制通风-螺旋搅拌土壤热解吸修复有机污染土壤的系统,包括空气预热系统、尾 气处理系统和控制系统,其特征在于 :还包括了由螺旋搅拌热解吸装置和引风机组 成的螺旋搅拌热解吸系统,所述螺旋搅拌热解吸系统位于空气预热系统和尾气处理系统之 间。
 
根据权利要求 1 所述的强制通风-螺旋搅拌土壤热解吸修复有机污染土壤的系统,其特 征在于 :所述螺旋搅拌土壤热解吸装置为圆筒状设备,由筒体、螺旋搅拌器和电加热元件组 成,其中所述螺旋搅拌器由变频电机、减速器、连轴器、轴 和叶轮组成,所述变频电机通过减速器连接连轴器,连轴 器与轴连接,轴上设有叶轮。 .根据权利要求 2 所述的强制通风-螺旋搅拌热解吸修复有机污染土壤的系统,其 特征在于 :所述螺旋搅拌器的叶轮为转速可调的螺旋状叶轮,其转速调节范围为 0.5 ~ 50 转 / 分钟。
根据权利要求 所述的强制通风-螺旋搅拌土壤热解吸修复有机污染土壤的系统,其特 征在于 :所述电加热元件设于所述筒体外壁,所述电加热元件为铸铝加热圈。
 
根据权利要求 所述的强制通风-螺旋搅拌土壤热解吸修复有机污染土壤的系统,其特 征在于 :所述空气预热系统由鼓风机和空气加热器组成。
 
根据权利要求 所述的强制通风-螺旋搅拌土壤热解吸修复有机污染土壤的系统,其特 征在于 :所述尾气处理系统由旋风除尘器、除湿器和吸附塔组成,旋风除尘器 、除湿器和吸附塔依次连接在螺旋搅拌热解吸系统的螺旋搅拌热解吸装置 和引风机之间。

30

装备制造经验

立即免费获取土壤修复方案

为用户提供及时、高效、便捷的服务

在线咨询
尊龙凯时官网环境希望与你携手,共创美好未来...
5